It’s about time Apple launches the iPhone Mini next year. We don’t have any inside information and this is really me speculating. Here’s why I think that will happen: iPhone 6 will have a bigger screen than the iPhone 5! This in turn will open space for launching a smaller and more affordable iPhone. Not…
$50 iTunes Gift Card for $40 on eBay – Limited Quantity
Looking for that perfect last-minute gift for the Apple fan in your life? Well look no further! There’s a great deal on eBay for iTunes gift cards, with a $50 Gift Card available for $40. That includes free standard shipping, and will arrive between December 30th and January 6th. With an iTunes gift card, you…
Confirmed: iPhone available from China Mobile on January 17, 2014; Apple shareholders rejoice
Well folks, it has finally happened. Apple and China Mobile have officially announced the deal under which the iPhone will be available from the world’s largest mobile operator. Pre-registration will open on December 25th, and the phone will hit the stores starting from January 17, 2014. Both the iPhone 5c and iPhone 5c will be…
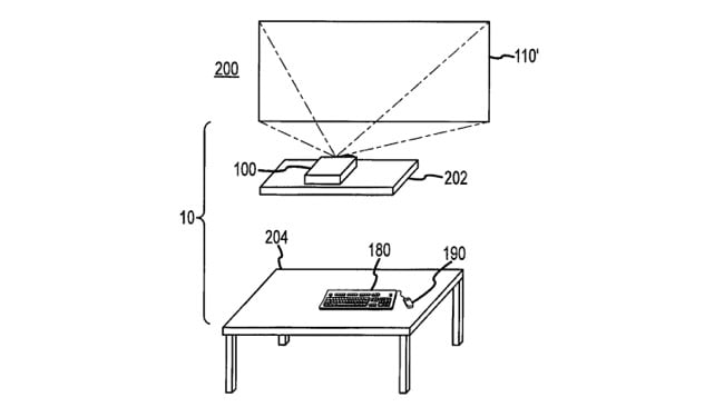
Apple wants to make a “desk-free computer” with built-in projector
Apple has recently scored a patent for what it calls a “desk-free computer,” which the company filed for back in 2008. The filing describes a computer that looks like a Mac Mini or some other small computer that includes a built-in projector. This in turn would allow users to simply connect keyboard and mouse to…
Apple to enter restaurant-reservation market?
Apple may expand into new areas in the future. As part of its plan to better serve its Siri users, the Cupertino-based company is already offering restaurant reservations powered by OpenTable. The existing system, however, isn’t good enough for Cook & Co, so they want to improve it. In a patent filing, Apple describes a…
Target Offering Last-Minute Holiday Deals on iPhone 5C, 5S, iPad Air, iPad mini
If you’re in need of that perfect last-minute holiday gift, Target is offering some hot deals on iPhones and iPads at their retail locations. From today until December 24th, you can get yourself that new iPhone 5C, 5S or iPad Air. Keep in mind that the iPhone 5S and 5C prices listed below require a…
Snapchat for iOS Gains New Features: Replay, Filters, Overlays and Front-Facing Flash
Everyone’s favorite photo and video sharing app Snapchat has received a few new features for fans using an iOS device. The disappearing message app now has some cool new features including the ability to view a snap after it has already been viewed. Snapchat is reportedly between major updates, and the development team rolled out…
Top 5 Gold Smartphones of 2013
While gold-colored smartphones are nothing new, they certainly seemed to catch on in 2013. Apple made a splash with their gold or “champagne” colored iPhone 5s, and Samsung released a curious gold-colored flip phone with smartphone innards, the Galaxy Golden. A few 24-carat gold encrusted smartphones released as well, with the HTC One and BlackBerry…
Humble Weekly Sale from Puppy Games – Revenge of the Titans and More for Under $4!
The Humble Bundle is one of the best deals in gaming, and a great way to support developers and charity! Today, the latest Humble Weekly Sale was announced and it’s another great line-up of games at a great price (right now the average is about $3.35). The latest Humble Weekly Sale is a collection of 4 great titles from Puppy…
San Francisco DA wants Apple to turn Activation Lock on by default on all iPhones
When Apple first showed off iOS 7 in the summer, we were impressed with its user interface design and ramped up security. Of course, one of the major security additions was the Touch ID fingerprint scanner. The second was a side feature that supposed to further aid the duties of Find My iPhone; the feature…









